Apple sắp ra mắt iPhone có thiết kế cực kỳ độc đáo
(PLVN) - Điều này cho phép các biểu tượng có thể di chuyển qua nhiều bề mặt khi vuốt và thậm chí có thể cho phép các biểu tượng hoặc các thành phần đồ họa khác xuất hiện như một giao diện người dùng dạng dải băng bao quanh thiết bị.
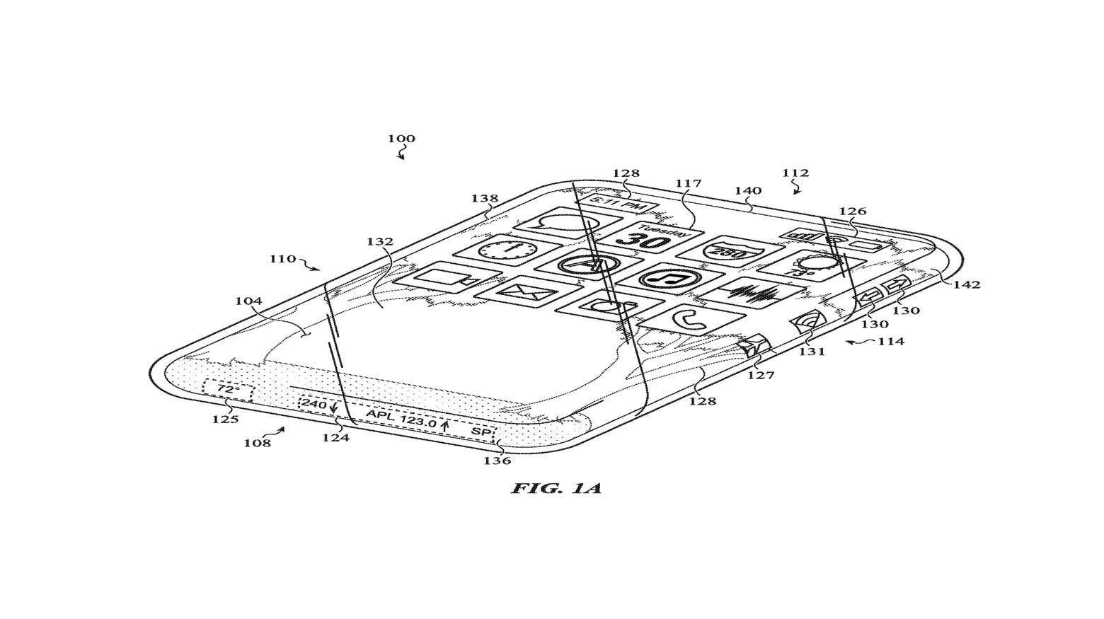
Apple từng xin cấp bằng sáng chế cho một "Thiết bị điện tử có lớp vỏ bằng kính". Nhưng thiết bị được đề xuất cụ thể hơn nhiều so với cái tên "vô thưởng vô phạt" này.
Mặt trước và mặt sau, cả hai mặt và thậm chí cả mặt trên và mặt dưới của điện thoại là một màn hình duy nhất, không thể bị vỡ.
Apple còn đề xuất một hệ điều hành sẽ tận dụng tất cả các màn hình đó. "Một giao diện người dùng có thể mở rộng ra mặt trước, một mặt bên hoặc nhiều hơn, và mặt sau của thiết bị", ghi chú nộp bằng sáng chế cho biết. "Điều này cho phép các biểu tượng có thể di chuyển qua nhiều bề mặt khi vuốt và thậm chí có thể cho phép các biểu tượng hoặc các thành phần đồ họa khác xuất hiện như một giao diện người dùng dạng dải băng bao quanh thiết bị”.
Tất nhiên, concept này sẽ không thể sử dụng với các bút bấm vật lý. Và khe cắm thẻ SIM sẽ là một thách thức lớn. Bằng sáng chế cũng không đề cập đến cổng Lightning, thay vào đó là đề xuất dùng sạc không dây thay thế.
Dù bằng sáng chế này của Apple chắc chắn sẽ khiến nhiều người kinh ngạc hoặc thậm chí cảm thấy kỳ quặc, thì cũng chẳng có gì đảm bảo việc Táo khuyết sẽ ra mắt một chiếc iPhone có màn hình bao quanh như mô tả của bằng sáng chế này.
Trên thực tế, nhiều bằng sáng chế của các hãng được đăng ký nhưng rồi sau đó chẳng ai còn nhìn thấy chúng thêm lần nào nữa.

